0 490 133 (00 2 030) Device
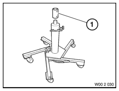
| Use | (universal hydraulic lifter base unit) Chassis and hydraulic lifter - For removing and installing rear axle supports and transmissions. Also for soft top mounts. Is replaced by 81 22 2 219 012 |
COMPRISING SPECIFICATION
| No. | BMW order number | Replaced by | Description | In conjunction with |
|---|---|---|---|---|
| 1 | 0 490134 (00 2 031) | Adapter (adapter for transmission holder) Model series: E30, E31, E32, E34, E36 |
