LEMON Manuals: Even more car manuals for everyone: 1960-2025
Home >> BMW >> 2017 >> 530i >> Repair and Diagnosis (Single Page) >> General Information >> Engine Performance >> Waveforms - Injector Pattern Tutorial - General Information >> Voltage Waveform Samples >> Example #3 - Voltage Controlled Driver

Example #3 - Voltage Controlled Driver

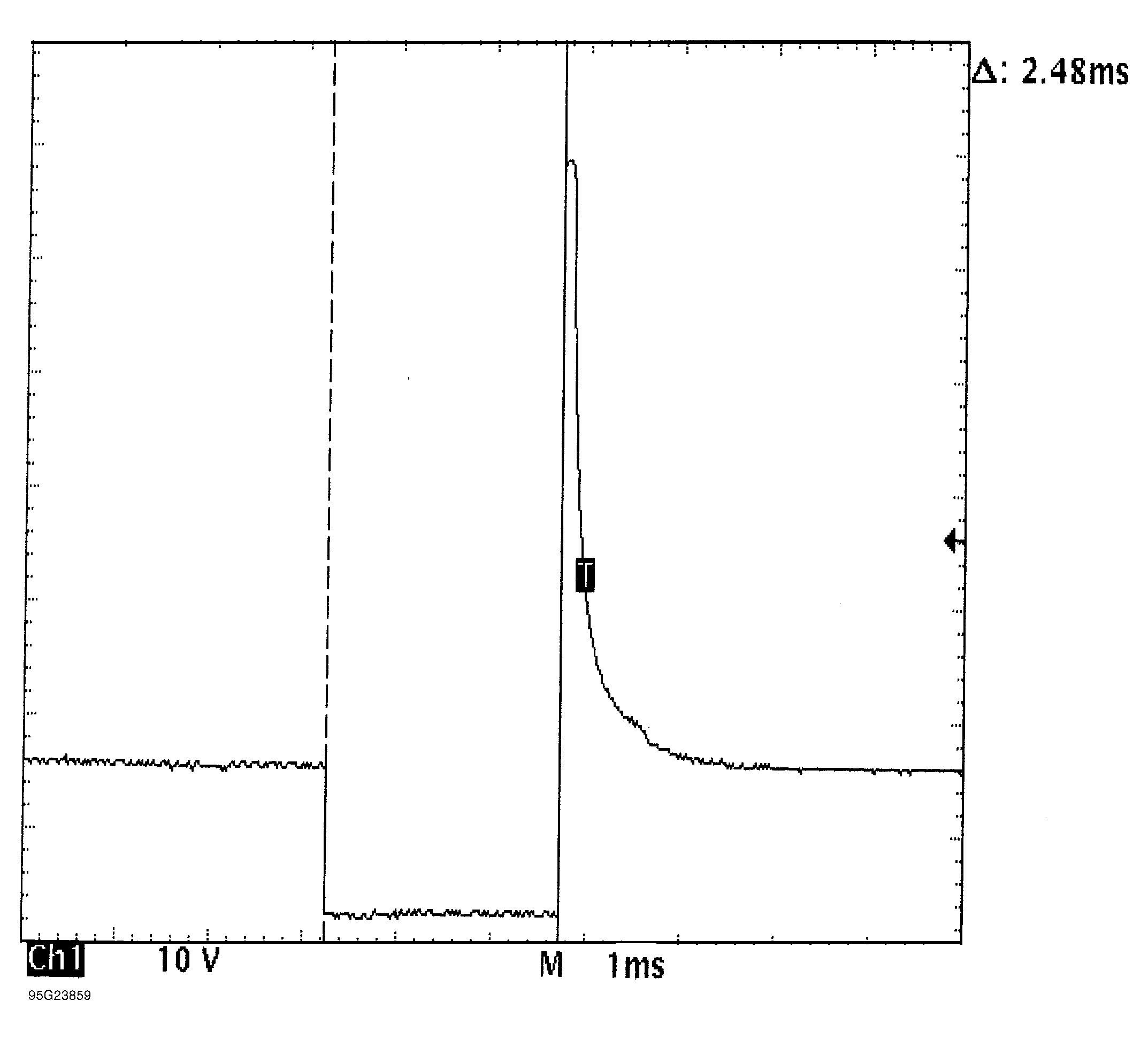
This known-good waveform pattern, Fig. Fig 1, is from a GM 5.0L V8 TPI VIN [F]. It was taken during hot idle, closed loop and no load.

Fig 1: Injector Bank - Known Good - Voltage Pattern
G95G23859