LEMON Manuals: Even more car manuals for everyone: 1960-2025
Home >> BMW >> 2017 >> 530i >> Repair and Diagnosis (Single Page) >> General Information >> Engine Performance >> Waveforms - Injector Pattern Tutorial - General Information >> Voltage Waveform Samples >> Example #5 - Current Controlled Driver

Example #5 - Current Controlled Driver

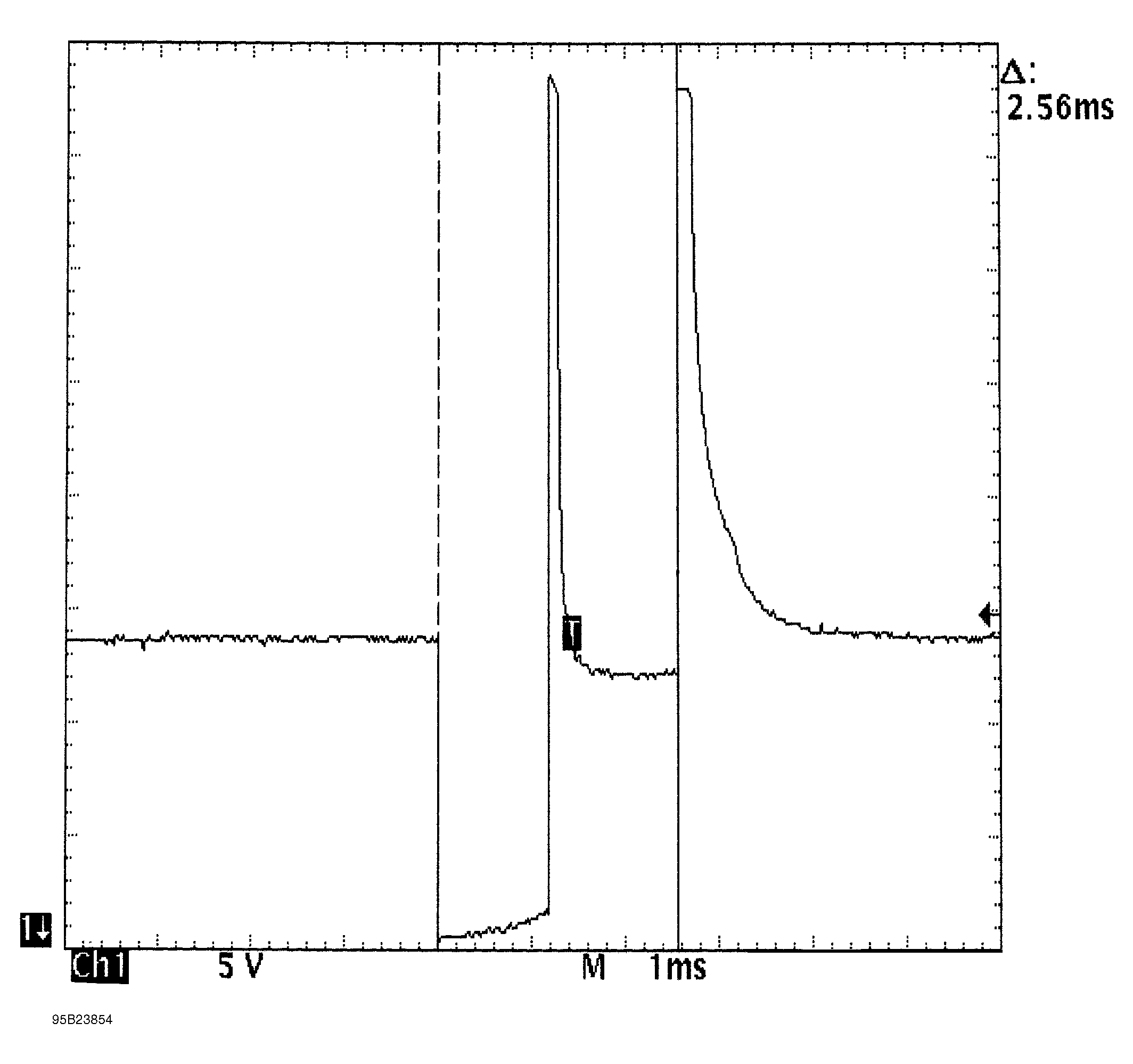
These two known-good waveform patterns are from a Chrysler 3.0L V6 VIN [3]. The first waveform, Fig. Fig 1, is a dual trace pattern that illustrates how Chrysler uses the rising edge of the engine speed signal to trigger the injectors. The second waveform, Fig. Fig 2, was taken during hot idle, closed loop, and no load.

Fig 1: Injector Bank - Known Good - Voltage Pattern
G95A23861
Fig 2: Injector Bank - Known Good - Voltage Pattern
G95B23854