LEMON Manuals: Even more car manuals for everyone: 1960-2025
Home >> BMW >> 2017 >> 530i >> Repair and Diagnosis >> General Information >> Engine Performance >> Waveforms - Injector Pattern Tutorial - General Information >> Voltage Waveform Samples >> Example #8 - Current Controlled Driver

Example #8 - Current Controlled Driver

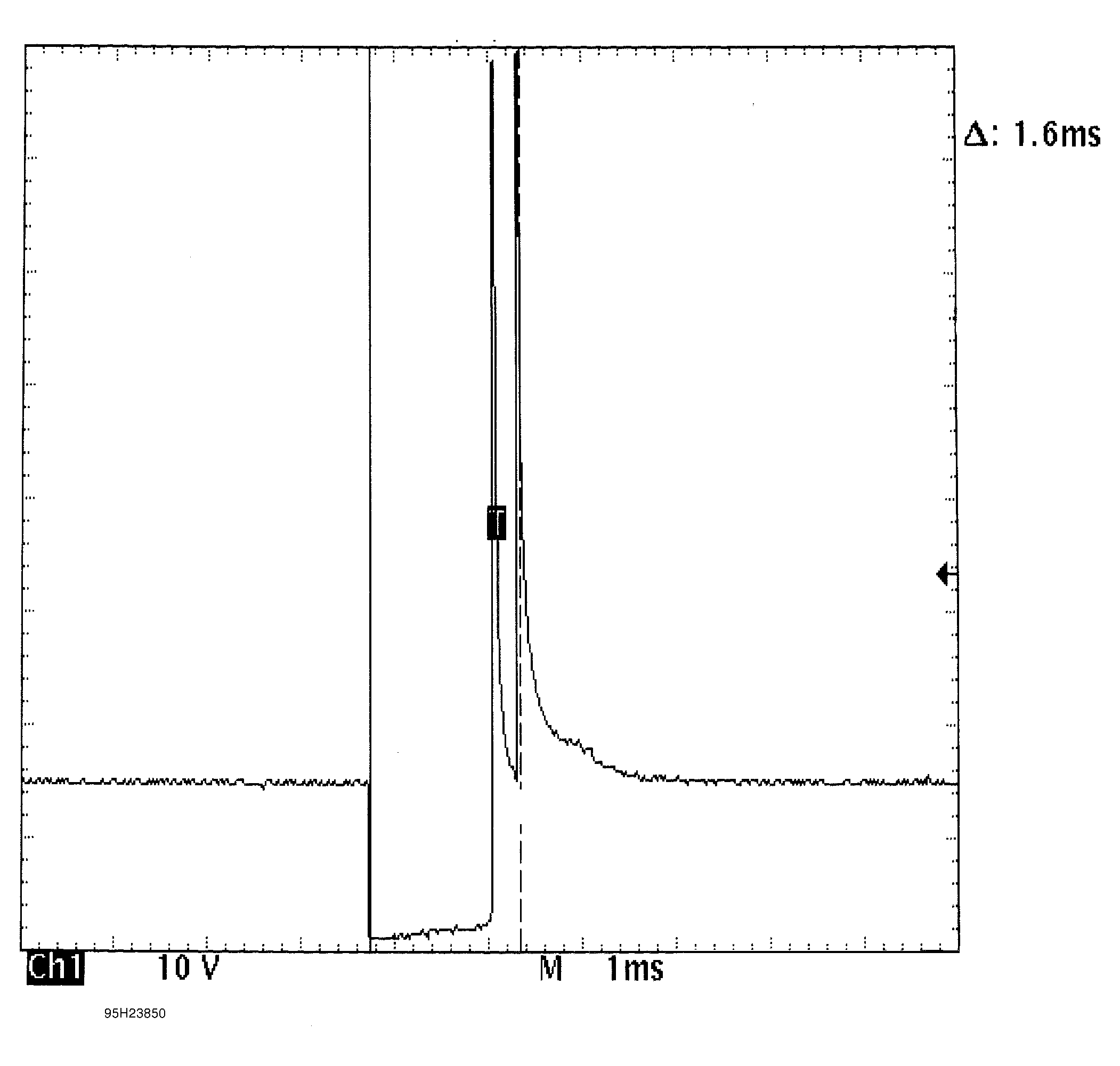
These two known-good waveform patterns are from a GM 2.0L In-Line 4 VIN [1]. Fig. Fig 1 illustrates the 78 volt inductive spike that indicates a zener diode is not used. The second waveform, Fig. Fig 2, was taken during hot idle, closed loop, and no load.

Fig 1: Single Injector - Known Good - Voltage Pattern
G95D23849
Fig 2: Single Injector - Known Good - Voltage Pattern
G95H23850