LEMON Manuals: Even more car manuals for everyone: 1960-2025
Home >> BMW >> 2017 >> 530i >> Repair and Diagnosis >> Collision >> Dimensions >> Collision - Body Panel Repair (G30) (1 Of 3) >> 41 00 Body >> WELDING IN REINFORCEMENT PLATE (SHEET STEEL) - (530i 2017-2022, 530i xDrive 2017-2022, 530e PHEV 2018-2022, 530e xDrive PHEV 2018-2022, 540i 2017-2022, 540i xDrive 2017-2022, M550i xDrive 2018-2022)

WELDING IN REINFORCEMENT PLATE (SHEET STEEL) - (530i 2017-2022, 530i xDrive 2017-2022, 530e PHEV 2018-2022, 530e xDrive PHEV 2018-2022, 540i 2017-2022, 540i xDrive 2017-2022, M550i xDrive 2018-2022)

In the case of a partial replacement piece, a body part is cut at a point described in the repair instructions.

A reinforcement plate is welded in to ensure sufficient strength.

Comply with notes on WELDING OF STEEL COMPONENTS .

NOTE: The following graphics serve as general illustrations of reinforcement plate repair work. These apply to all sectional repairs.

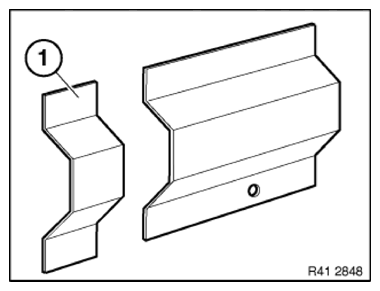
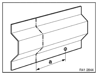
Mark component in accordance with dimension A and cut.

G09850104Courtesy of BMW OF NORTH AMERICA, INC.

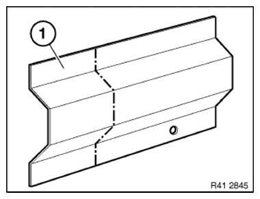
Cut new part (1) in accordance with cut and, if necessary, adjust to fit with set of alignment brackets or universal fixture.

Installation note: 

Leave a space on the separating cut of about one to max. two material thicknesses to ensure the weld with the reinforcement plate and allow for adjusting.

G09850105Courtesy of BMW OF NORTH AMERICA, INC.

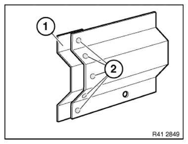
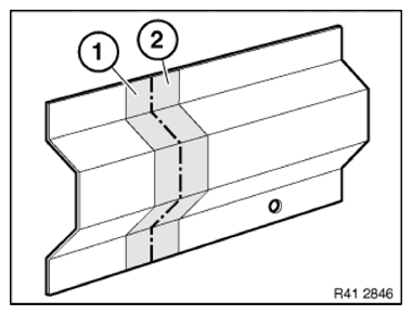
Clean the connection areas (1) at the new part and (2) at the body each at the inner and outer sides.

Coat the insides with a layer of welding primer.

G09850106Courtesy of BMW OF NORTH AMERICA, INC.

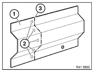
Drill holes (1) and (2) at a distance of 25 mm apart.

Drill diameter: about 8 mm.

G09850107Courtesy of BMW OF NORTH AMERICA, INC.

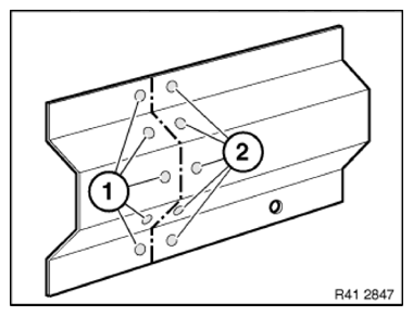
Cut the reinforcement plate (1) out of the new part trim.

Cut out additional reinforcement plates as needed.

The length of the reinforcement plate is at least 40 millimeters.

Coat reinforcement plates (1) and (2) on both sides with welding primer.

G09838554Courtesy of BMW OF NORTH AMERICA, INC.

Carefully slide reinforcement plate (1) half-way into component on the body and plug weld (2).

G09850109Courtesy of BMW OF NORTH AMERICA, INC.

If necessary, adjust new part (1) to fit with alignment bracket or universal fixture and plug weld (2).

MAG weld the joints (3).

Sand and clean the weld seam and plug weld.

In visible areas of the outer skin and on the carrier support, areas that have been ground should be washed/tinned.

Do not wash/tin any areas covered by covers on the vehicle.

NOTE: Only applicable within the European Union!
European used-vehicle regulations prohibit the use of tin containing lead in cars introduced after 01.07.2003!
G09838556Courtesy of BMW OF NORTH AMERICA, INC.