LEMON Manuals: Even more car manuals for everyone: 1960-2025
Home >> BMW >> 2017 >> 530i >> Repair and Diagnosis >> Accessories & Equipment >> Interior/Exterior Trim >> Body Equipment - Repair (2 Of 3) (G30) >> 51 23 Hood Latch, Locks >> Removing/installing ball sockets with clip (530i 2017-2022, 530i xDrive 2017-2022, 530e PHEV 2018-2022, 530e xDrive PHEV 2018-2022, 540i 2017-2022, 540i xDrive 2017-2022, M550i xDrive 2018-2022)

Removing/installing ball sockets with clip (530i 2017-2022, 530i xDrive 2017-2022, 530e PHEV 2018-2022, 530e xDrive PHEV 2018-2022, 540i 2017-2022, 540i xDrive 2017-2022, M550i xDrive 2018-2022)

WARNING: Danger of injury!  When installed, the gas pressurized shock absorber is under preload. Minimize preload as far as possible before removing.
CAUTION: Never lift off ball socket with engaged clamp.

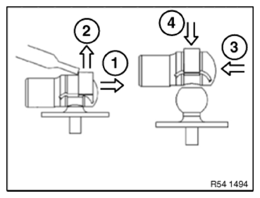
Version A: 

  1. Push on clamp in direction of groove with screwdriver
  2. Lift off ball socket from ball pin
  3. Slide clamp back
  4. Fit ball socket on ball stud and snap into place with force

Installation note: 

Pack grease into two opposite positions in socket. The grease spreads after installation on the ball pin all round in the ball socket.

G10142456Courtesy of BMW OF NORTH AMERICA, INC.

Version B: 

CAUTION: Risk of damage! 
If you are not careful, retaining spring (2) may be bent to such an extent that the entire drive spindle will have to be replaced.

Press drive spindle (1) against ball pin in order to relieve strain on retaining spring (2) at ball pin.

Pull out retaining spring (2) approx. 2-3 mm with screwdriver (3).

Pull off spindle foot.

G09879273Courtesy of BMW OF NORTH AMERICA, INC.
WARNING: Observe warning notices on the damper.
Electrical spindle drive for tailgate is under mechanical spring load!
The component must be secured against falling down.
CAUTION: Risk of damage! 
Do not press on spindle drive at an angle or twisted.

Installation note: 

Press ball socket (1) onto ball pin (2) until retaining spring (3) engages correctly (clicking sound).

G06885662Courtesy of BMW OF NORTH AMERICA, INC.
CAUTION: If retaining spring (4) is damaged!
Release pin (1).
Remove spindle drive (3).
Remove ball socket (2).
Remove retaining spring (4) and replace if necessary.
G06885663Courtesy of BMW OF NORTH AMERICA, INC.