LEMON Manuals: Even more car manuals for everyone: 1960-2025
Home >> BMW >> 2017 >> 530i >> Repair and Diagnosis (Single Page) >> Electrical >> Motors, Switches, Relays >> General Electrical System - Repair (G30) (1 Of 3) >> 61 13 Plug Connection, Terminal >> Cutting to length and stripping insulation from cables (530i 2017-2022, 530i xDrive 2017-2022, 530e PHEV 2018-2022, 530e xDrive PHEV 2018-2022, 540i 2017-2022, 540i xDrive 2017-2022, M550i xDrive 2018-2022)

Cutting to length and stripping insulation from cables (530i 2017-2022, 530i xDrive 2017-2022, 530e PHEV 2018-2022, 530e xDrive PHEV 2018-2022, 540i 2017-2022, 540i xDrive 2017-2022, M550i xDrive 2018-2022)

Special tools required: 

Spare parts for vehicle electronics (housing and contacts): 

Use insulation strippers to cut and strip insulation of cables 2 221 122  .

Stripped length:

Wire cross-section (mm2 ) Stripped length (mm)
0.35... 0.50 4.0
0.75... 1.00 4.5
1.00...2.50 5.0
  1. Crimping of NanoMQS stops (only G11; G12) 

    Crimping of NanoMQS contacts (MQS).

    • Special tool handle 0 494 159 or 0 496 849
    • Special tool matrix 0 496 833
    • Stripping tool 2 407 379 
  2. Crimping of stops up to 2.5 mm 2 

    Crimping Micro Quadlock System contacts (MQS).

    • Special tool 61 4 320 

    Crimping Micro Power Quadlock contacts (MPQ).

    • Special tool 61 4 320 

    Crimping miscellaneous stops up to 2.5 mm2

    • Special tool 61 4 340 
  3. Crimping of stops from 2.5 mm 2 

    Crimping load current contacts (LSK 8).

    • Special tool 61 0 210 

    Crimping load current contact 2.8.

    • Special tool 61 0 220 

    Crimping double spring contact (DFK 40)

    Crimping MAK8

    • Special tool 61 0 230 
  4. Crimping butt connectors and contact sleeves for comb connectors up to 2.5 mm 2 
  5. Crimping butt connectors and contact sleeves for comb connectors larger than 2.5 mm 2 
  6. Crimping contact sleeves for 4 mm 2  comb connectors and ignition cable contacts 

    For connecting the ignition cable contacts and for crimping the 4 mm2 contact sleeves for comb connectors, the special tool set 12 1 080  is used.

    • 12 1 081  (hand pliers)
    • 12 1 083  (nest)

    See  REPAIR INSTRUCTIONS   Special tools for wiring harness repairs.

    G10143354Courtesy of BMW OF NORTH AMERICA, INC.

    Unlock special tool 12 1 081  :

    Squeeze grips (1) lightly and push release lever (2) in direction of arrow.

    Or:

    Compress handles until limit position, hand pliers unlock automatically.

    G10143355Courtesy of BMW OF NORTH AMERICA, INC.

    Place 4 mm2 contact sleeve in nest with anti-twist lock (1) up to the limit position.

    G10143356Courtesy of BMW OF NORTH AMERICA, INC.

    Preload contact by squeezing matrix in crimping tool. Grip contact (1) firmly only, do not crimp.

    G10143357Courtesy of BMW OF NORTH AMERICA, INC.
    NOTE: Follow procedure for cutting and stripping insulation from cables.

    Insert stripped end of wire (7) in the contact. Ensure that the insulation and strip insulation wire end are correctly laid in contact.

    Compress crimping tool to limit position.

    Crimping tool unlocks automatically

    Take contact out of crimping tool.

    G10143358Courtesy of BMW OF NORTH AMERICA, INC.
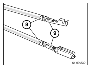
  7. Checking crimping 

    Check insulation crimping (8) and wire crimp (9) against following illustrations to ensure crimps are correctly located.

    NOTE: Illustration shows butt connectors and contact sleeves for comb connectors knocked on one side. The crimping procedure is identical here.
    G12676016Courtesy of BMW OF NORTH AMERICA, INC.

    Correct crimping: 

    Visible conductor end (10).

    Visible insulation end (11).

    G10143360Courtesy of BMW OF NORTH AMERICA, INC.

    Incorrect crimping: 

    Conductor end (10) inserted too far.

    Insulation end (11) in wire crimp.

    If necessary, repeat crimping with a new contact.

    G10143361Courtesy of BMW OF NORTH AMERICA, INC.

    Incorrect crimping: 

    Conductor end (10) not visible.

    Insulation end (11) not visible.

    If necessary, repeat crimping with a new contact.

    G10143362Courtesy of BMW OF NORTH AMERICA, INC.
  8. Insulating the crimp point with the heat-shrink tubing 

    Push the heat-shrink tubing (8) onto the free wire end before crimping.

    G12676033Courtesy of BMW OF NORTH AMERICA, INC.

    Crimp unused wire end using butt connector.

    G12676034Courtesy of BMW OF NORTH AMERICA, INC.

    Position the heat-shrink tubing centrally over the butt connector.

    G10139844Courtesy of BMW OF NORTH AMERICA, INC.
    CAUTION: Do not burn shrink-on sleeve.

    Mount the soldering shrink reflector on the hot air blower.

    Using a hot air blower, shrink the heat-shrink tubing at 400°C until adhesive visibly escapes uniformly at both sides (9) of the heat-shrink tubing.

    G10139845Courtesy of BMW OF NORTH AMERICA, INC.