LEMON Manuals: Even more car manuals for everyone: 1960-2025
Home >> Audi >> 2021 >> A4 Quattro Premium Plus, 2.0L Eng VIN B >> Repair and Diagnosis (Single Page) >> Electrical >> Fuses & Circuit Breakers >> Wires >> 97 Wires >> Wiring Harness And Connector Repairs >> Connector Housings, Releasing And Disassembling >> Flat Connector Systems

Flat Connector Systems

NOTE:

If necessary, housing securing mechanisms (secondary locks) must be released or removed using specified tool before releasing the contacts. Refer to SECONDARY LOCK .

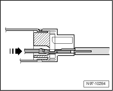
Flat Connector System with One Retaining Tab 

Fig 1: Identifying Removal Of Flat Connector Terminal With One Retaining Tab (1 Of 2)
GWWN97-10284Courtesy of AUDI OF AMERICA, LLC

-- Guide the release tool which fits the connector housing into release channel on connector housing.

-- Grasp contact at wire and push it gently into connector housing in direction of -arrow-.

NOTE:

By pushing the contact in the direction of the connector housing, the contact retaining tab is lifted off the housing shoulder and can be released using the release tool.

-- At the same time, push the release tool in the direction of the connector housing and pull the released contact out of the connector housing in direction of -arrow-.

Fig 2: Identifying Removal Of Flat Connector Terminal With One Retaining Tab (1 Of 2)
GWWN97-10285Courtesy of AUDI OF AMERICA, LLC

-- After removing the contact, release tool can be pulled out of the connector housing again.

Flat Connector System with Two Retaining Tabs 

Fig 3: Identifying Removal Of Flat Connector Terminal With Two Retaining Tab (1 Of 2)
GWWN97-10199Courtesy of AUDI OF AMERICA, LLC

-- Guide the release tool which fits the connector housing into release channel on connector housing.

-- Grasp contact at wire and push it gently into connector housing until it stops -arrow-.

NOTE:

By pushing the contact in the direction of the connector housing, contact retaining tabs are lifted off the housing shoulder and released using the release tool.

-- At the same time, push the release tool in the direction of the connector housing and pull the released contact out of the connector housing -arrow-.

Fig 4: Identifying Removal Of Flat Connector Terminal With Two Retaining Tab (1 Of 2)
GWWN97-10200Courtesy of AUDI OF AMERICA, LLC

-- After removing the contact, release tool can be pulled out of the connector housing again.

Asymmetrical 

Fig 5: Identifying Removal Of Asymmetrical Flat Connector Terminal (1 Of 2)
GWWN97-10288Courtesy of AUDI OF AMERICA, LLC

-- Guide the release tool which fits the connector housing into release channel on connector housing.

-- Grasp contact at wire and push it gently into connector housing -arrow-.

NOTE:

By pushing the contact in the direction of the connector housing, contact retaining tabs are lifted off the housing shoulder and released using the release tool.

-- At the same time, push the release tool in the direction of the connector housing and pull the released contact out of the connector housing -arrow-.

Fig 6: Identifying Removal Of Asymmetrical Flat Connector Terminal
GWWN97-10289Courtesy of AUDI OF AMERICA, LLC

-- After removing the contact, release tool can be pulled out of the connector housing again.