LEMON Manuals: Even more car manuals for everyone: 1960-2025
Home >> Audi >> 2021 >> A4 Quattro Premium Plus, 2.0L Eng VIN B >> Repair and Diagnosis (Single Page) >> Electrical >> Motors, Switches, Relays >> Wires >> 97 Wires >> Wiring Harness And Connector Repairs >> Tool Descriptions >> Contact Release Tools

Contact Release Tools

Various release tools are used to remove the different terminals from connector housing without damage.

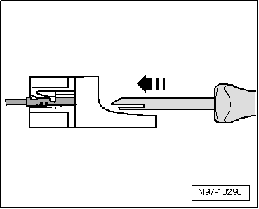
Fig 1: Guiding Release Tool Into Release Channel
GWWN97-10290Courtesy of AUDI OF AMERICA, LLC

A selection of release tools are a component of the :VAS1978  and the :VAS1978A  . The :VAS1978/35  contains the entire set of release tools. Refer to Release Tool Set .

WARNING:

Some tools are supplied with a tool safety clip, which is slid over the tool points after using the tool, in order to protect other workers from injuries and tool points from damage.

Connector housings, unlocking and disassembling. Refer to CONNECTOR HOUSINGS, RELEASING AND DISASSEMBLING .