Example #5 - Current Controlled Driver
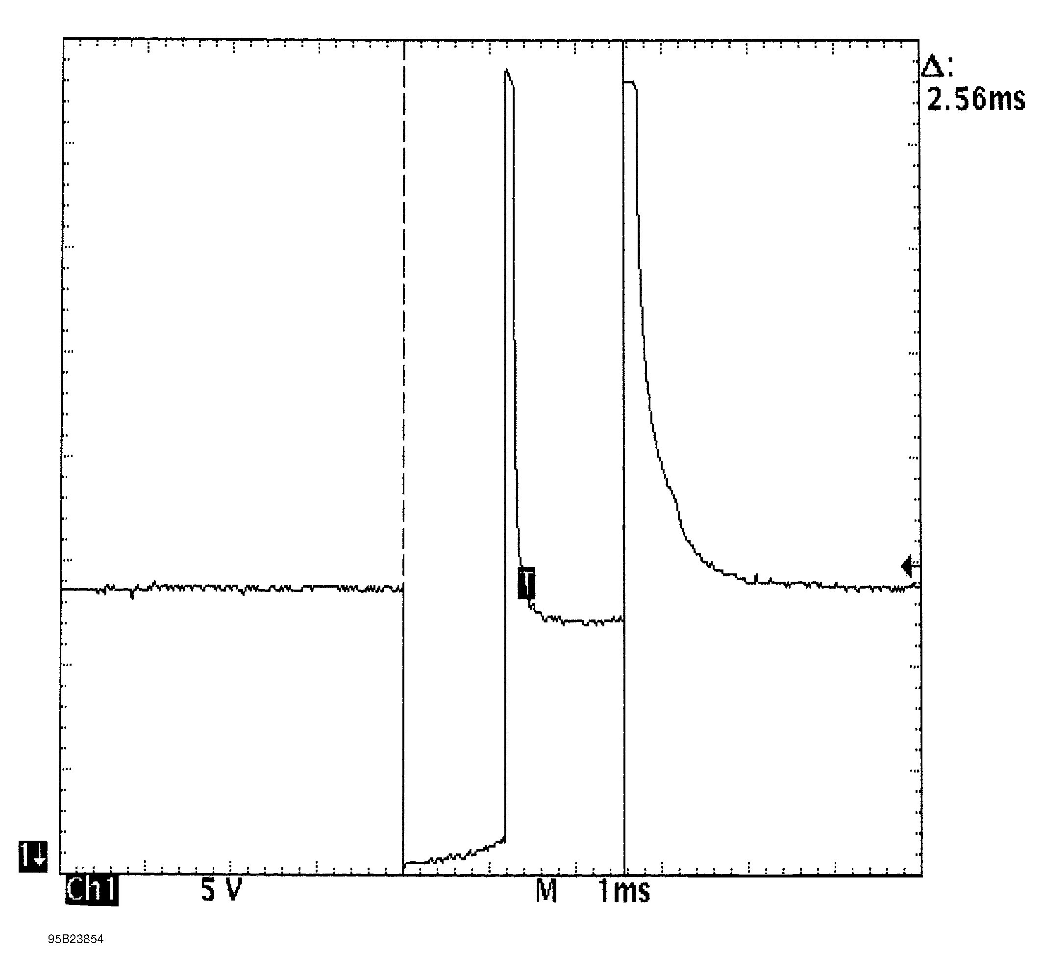
These two known-good waveform patterns are from a Chrysler 3.0L V6 VIN [3]. The first waveform, Fig. Fig 1, is a dual trace pattern that illustrates how Chrysler uses the rising edge of the engine speed signal to trigger the injectors. The second waveform, Fig. Fig 2, was taken during hot idle, closed loop, and no load.

