LEMON Manuals: Even more car manuals for everyone: 1960-2025
Home >> Audi >> 2021 >> A4 Quattro Premium Plus, 2.0L Eng VIN B >> Repair and Diagnosis (Single Page) >> Heating, Ventilation & A/C (HVAC) >> General Servicing >> Air Conditioning (Refrigerant R1234YF Servicing) (2 Of 2) >> 87 Air Conditioning >> Refrigerant Circuit >> System Overview - Refrigerant Circuit >> System Overview - Refrigerant Circuit With Electrically-Driven A/C Compressor (With Or Without Battery Cooling Module)

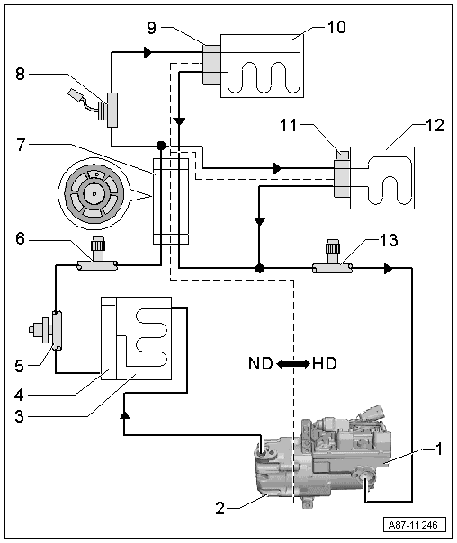
System Overview - Refrigerant Circuit With Electrically-Driven A/C Compressor (With Or Without Battery Cooling Module)

NOTE:

The arrows indicate the refrigerant flow direction.

The following illustration shows a refrigerant circuit with an expansion valve and a second evaporator for cooling the battery and an inner heat exchanger as an example.

The layout of the refrigerant circuit is vehicle-specific. Refer to Refrigerant Circuit .

HD = High Pressure Side

ND = Low Pressure Side

Fig 1: Exploded View Of Refrigerant Circuit
GWWA87-11246Courtesy of AUDI OF AMERICA, LLC
  1. Electrically-Driven A/C Compressor
    • With A/C Compressor Control Module -J842- and Electrical A/C Compressor -V470-. Refer to Refrigerant Circuit .
  2. Pressure Relief Valve
  3. Condenser
    • With receiver/dryer and dryer cartridge.
  4. Receiver/Dryer
    • Is a component of the condenser
  5. Refrigerant Pressure Sensor
  6. Service Connection - High Pressure Side
    • With closure cap.
  7. Refrigerant Line with Inner Heat Exchanger
  8. Refrigerant Shut-Off Valve
    • Different names. Refer to Refrigerant Circuit .
    • Only on vehicles with a battery cooling module for the Hybrid Battery Unit -AX1-.
      NOTE:

      The Refrigerant Shut-Off Valve is for example activated, if the battery needs to be cooled and the vehicle interior is not already being cooled (open without activation).

  9. Expansion Valve
    • On the heater and A/C unit evaporator
  10. Front Evaporator
    • Heater and A/C unit evaporator
  11. Expansion Valve with Shut-Off Valve
    • Different names. Refer to Refrigerant Circuit .
    • On the evaporator in the battery cooling module
    • Only on vehicles with a battery cooling module for the Hybrid Battery Unit -AX1-.
      NOTE:

      The Expansion Valve with Shut-Off Valve is activated when it is necessary to cool the battery (closed without activation).

  12. Evaporator
    • Evaporator in the battery cooling module
    • Only on vehicles with a battery cooling module for the Hybrid Battery Unit -AX1-.
  13. Service Connection - Low Pressure Side
    • With closure cap