General Description - Refrigerant Circuit Components: RESTRICTOR
Restrictor in Front of the Evaporator
At there time there are no A/C systems with a restrictor installed before the evaporator.
- The restrictor creates a constriction. This restriction reduces the flow and creates high and low pressure sides in the refrigerant circuit. The refrigerant in front of the restrictor is under a higher pressure and is warm. The refrigerant behind the restrictor is under lower pressure and is cool. Before the restriction there is a strainer for contaminants and after the restriction there is a strainer to atomize the refrigerant before it reaches the evaporator.
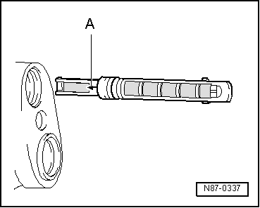
Arrow -A- on the restrictor points to the evaporator.
Replace after each opening the refrigerant circuit.
There are different versions, so pay attention to the different customer service information sources. Refer to the Parts Information.
Restrictor in front of the High-Voltage Battery Heat Exchanger (Chiller)
The restrictor creates a constriction. This restriction reduces the flow and creates high and low pressure sides in the refrigerant circuit. The refrigerant in front of the restrictor is under a higher pressure and is warm. The refrigerant behind the restrictor is under lower pressure and is cool.
Courtesy of AUDI OF AMERICA, LLCThis illustration shows a refrigerant line -A- with a permanently installed restrictor -B- (without screen)
The diameter of the illustrated restrictor hole -B- is approximately 0.7 mm. Depending on the version of the refrigerant line this constriction is either installed fixed in the refrigerant line or only inserted. A screen to separate floating deposits may be installed on the inserted version, which can be blocked by the restrictor hole.
Before installing check for debris and clean or replace if necessary.
Pay attention to the different versions. Refer to Refrigerant Circuit and the Parts Information.
