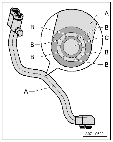
Refrigerant Line With Inner Heat EXCHANGER
- In this refrigerant line, the hot fluid refrigerant on the high pressure side flows to the flowing gaseous or vaporous cold refrigerant on the low pressure side to increase the efficiency of the A/C system.
NOTE:
This illustration shows a refrigerant line with an inner heat exchanger as it is installed on for example the Golf 7, the Audi A4 from MY 2008 and on the Audi A5 Coupe from MY 2008. Refer to Refrigerant Circuit .
A - Refrigerant Line with Inner Heat Exchanger
B - Channel inside the refrigerant line in which the warm fluid refrigerant flows to the evaporator (refrigerant circuit high pressure side)
C - Channel inside the refrigerant line in which the gaseous or vaporous cold refrigerant flows to the A/C compressor (refrigerant circuit low pressure side)
