Adapter For Assembling Flushing Circuit
- Various adapters which are required to connect the A/C service station to the refrigerant circuit for flushing and to bridge the removed receiver/dryer or reservoir and expansion valve (specific to vehicle) are in the following table.
- Using a charge hose with 5/8 -18 UNF connections (short version, for example Refrigerant Circuits Adapter Set 1 - Adapter 31 :VAS6338/31 ), connect the two adapters (contained in Refrigerant Circuits Adapter Set 1 :VAS6338/1 ) which have been installed for the removed reservoir or receiver/dryer.
- If a flushed refrigerant circuit is not reassembled immediately after flushing, leave the adapters on the connections and seal the connections on the adapters using Refrigerant Circuits Adapter Set 1 - Adapter 30 :VAS6338/30 (from Refrigerant Circuits Adapter Set 1 :VAS6338/1 ).
- Depending on the A/C compressor version and the date of manufacture, different connection and sealing techniques can be found on the refrigerant circuit. Refer to Refrigerant Circuit .
- Beginning from production year 2006, the name of the "Zexel" A/C compressor was changed from "Zexel" to "Valeo".
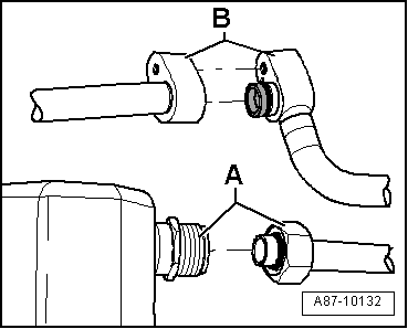
Block or screw connections
-- Threaded connection -A-
-- Block connection -B-
Block connections with different types of seals
-- Block connection with radially sealed connection -A- (with plastic or metal guide -B-)
-- Block connection with axial sealing connection -C-
| Assembling the Flushing Circuit | |
|---|---|
| Audi 80, Audi 90, Audi Coupe, Audi Cabriolet and Audi A4 | Refer to Audi 80, Audi 90, Audi Coupe, Audi Cabriolet and Audi A4 |

