Tire Wear, One Sided: Notes
In many causes, this is caused by driving style, but sometimes it is also caused by incorrect axle adjustment.
Increased one-sided wear
One-sided wear, in conjunction with scrub marks on tread ribs and finer grooves, always appears when tires roll at an extreme tire slip angle and consequently >>scrub<< on the road surface.
Driving quickly around curves leads to increased wear, especially on the outside edge.
A rounded tire shoulder in conjunction with especially high wear on the outer tread bars indicates fast driving around curves. This wear pattern is influenced by the driving style.
The suspension is adjusted to certain toe and camber values to optimize driving behavior. When tires roll under conditions other than those specified, increased and one-sided wear must be expected.
Strong one-sided wear can be caused especially by incorrect toe and camber values. This increases the danger of diagonal wear spots.
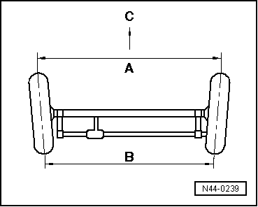
Toe-out or negative toe-in value
The distance between the fronts of the tires -A- is greater than the distance between the backs of the tires -B- (-C- = direction of travel).
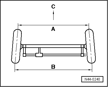
Toe-in or positive toe-in value
The distance between the fronts of the tires -A- is less than the distance between the backs of the tires -B- (-C- = direction of travel).
To avoid one-sided tire wear, ensure that the wheel alignment remains within the tolerances specified by the vehicle manufacturer. The most common deviation of wheel alignment is caused by external influences, for example hard contact with the curb when parking.
A measurement of the axle geometry can determine whether the wheel alignment is within the specified tolerances or whether a correction of the wheel alignment is necessary.
Changes to the suspension
If a "lowering-kit" and /or light alloy wheels from accessories which have not been recommended by the vehicle manufacturer are used, wheel alignments which deviate from the alignment specified in design may occur during travel.
Even if the adjustment of the axle geometry measured on a standing vehicle is correct, changes in the body height and positions of the wheels during travel can lead to changes to the paths of travel of the wheel suspension.
For this reason, uneven wear is pre-programmed.


