LEMON Manuals: Even more car manuals for everyone: 1960-2025
Home >> Audi >> 2021 >> A4 Quattro Premium Plus, 2.0L Eng VIN B >> Repair and Diagnosis >> External Pages >> Different variant/trim >> Section 12 (Crankshaft, Cylinder Block 2.0L (DPAA)) >> 13 Crankshaft, Cylinder Block >> Crankshaft >> Sensor Wheel, Removing And Installing >> Installing

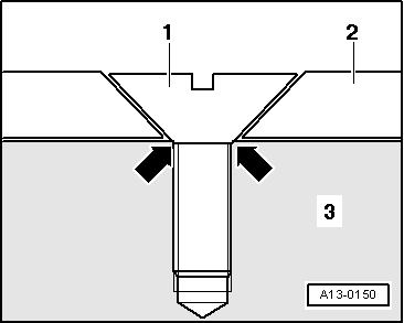
Sensor Wheel, Removing And Installing: Installing

WARNING: This page is about a different variant/trim than selected.

Install in the reverse order of removal while noting the following:

-- Always replace the sensor wheel -2- each time the bolts -1- are loosened.

Fig 1: Identifying Attachment Points, Countersunk Screws, Crankshaft & Sensor Wheel
GWWA13-0150Courtesy of AUDI OF AMERICA, LLC

-- Install the crankshaft. Refer to CRANKSHAFT, REMOVING AND INSTALLING .