LEMON Manuals: Even more car manuals for everyone: 1960-2025
Home >> Audi >> 2021 >> A4 Quattro Premium Plus, 2.0L Eng VIN B >> Repair and Diagnosis >> Suspension >> Front Suspension >> Front Suspension >> 40 Front Suspension >> Drive Axle >> Drive Axle, Disassembling And Assembling >> Drive Axle, Disassembling And Assembling, Triple Roller Joint AAR 2600 I And AAR 3300 I >> Assembling

Drive Axle, Disassembling And Assembling, Triple Roller Joint AAR 2600 I And AAR 3300 I: Assembling

-- Slide on the small clamp with the CV boot.

-- Position the CV boot between the -arrows- on the drive axle.

Fig 1: Circlip (Snap Ring) & Positioning Protective Joint Boot
GWWA42-0377Courtesy of AUDI OF AMERICA, LLC

-- Before installing the joint or triple roller star, the splines -arrow A- must be lightly coated with grease used in the joint.

Fig 2: Apply Grease
GWWA42-10049Courtesy of AUDI OF AMERICA, LLC

-- Place the triple roller star on the shaft according to the applied mark and drive on all the way.

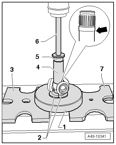
-- Arrange the special tools as shown.

Fig 3: Identifying T10065/6 And Making Sure It Attaches To Bead At Bottom In Drive Axle
GWWA40-10341Courtesy of AUDI OF AMERICA, LLC
  1. :T10065/1 
  2. :T10065/6 
  3. :VW401 
  4. :VW416B 
  5. :VW447H 
  6. :VW411 
  7. :VW402 

-- Install the circlip with locking ring pliers -1-.

Fig 4: Removing/Installing Circlip
GWWA40-0357Courtesy of AUDI OF AMERICA, LLC

-- Press the drive axle grease from the repair kit into the rear side of the triple roller joint. Refer to Grease Quantity and Type .

-- Lightly grease the roller body.

-- Press the joint over the triple roller star using a plastic mallet in the direction of the -arrow-. Make sure roller body does not tilt during this.

Fig 5: Pressing Joint Over Triple Roller Star Using Plastic Hammer
GWWA40-0361Courtesy of AUDI OF AMERICA, LLC
NOTE:

:T40018  is shown in the example.

-- Push remaining amount of grease in the CV boot.

-- Make sure the CV boot is seated on the joint correctly.

-- Mount and tighten the clamps on the triple roller joint. Refer to CLAMP ON TRIPLE ROLLER JOINT AND OUTER JOINT, TENSIONING .