LEMON Manuals: Even more car manuals for everyone: 1960-2025
Home >> Audi >> 2021 >> A4 Quattro Premium Plus, 2.0L Eng VIN B >> Repair and Diagnosis >> Heating, Ventilation & A/C (HVAC) >> HVAC Control Systems >> Air Conditioning >> 87 Air Conditioning >> Refrigerant Circuit >> System Overview - Refrigerant Circuit >> A/C compressor, condenser and inner heat exchanger

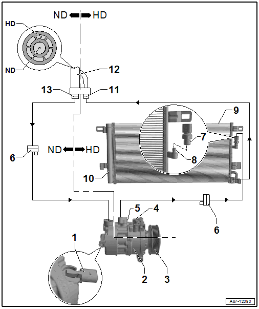
A/C compressor, condenser and inner heat exchanger

HD = high pressure side

ND = low pressure side

GWWA87-12090Courtesy of AUDI OF AMERICA, LLC
  1. A/C Compressor Regulator Valve -N280-
  2. A/C Compressor
  3. A/C Compressor Belt Pulley
    • Different versions, depending on the engine and the A/C compressor
    • Replace the belt pulley. Refer to OVERVIEW - BELT PULLEY .
    • Ribbed belt, removing and installing. Refer to RIBBED BELT, REMOVING AND INSTALLING .
    • Can be with or without the A/C Clutch -N25- depending on the engine and the A/C compressor
  4. Oil Drain Plug
  5. Pressure Relief Valve
  6. Connection in Refrigerant Line
  7. High Pressure Sensor -G65-
  8. Connection with Valve
  9. Condenser
  10. Receiver/Dryer (of the Condenser with Dryer Cartridge)
  11. Refrigerant Line Connection - High Pressure Side
    • Installed in the area of the left headlamp under the fender
  12. Refrigerant Line with Inner Heat Exchanger
    • Installed in the area under the left fender
    • In this refrigerant line, the liquid warm refrigerant flowing on the high pressure side releases energy into the vaporous cold refrigerant flowing on the low pressure side. This increases the efficiency of the A/C system.
  13. Refrigerant Line Connection - Low Pressure Side
    • Installed in the area of the left headlamp under the fender