Transmission Mount, Removing And Installing, Version 2
WARNING: This page is about a different variant/trim than selected.
Transmission Support, Removing with Transmission Mount
-- Remove the tunnel crossmember. Refer to the appropriate Service Information .
-- Remove the bolts -arrows- and remove the transmission support with the transmission mount from the transmission.
Transmission Mount, Removing
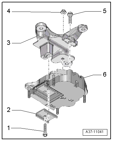
Courtesy of AUDI OF AMERICA, LLC-- Remove the bolts -1- and remove the stop -2- for the transmission mount.
-- Remove the nut -4- and the bolt -5-, and remove the transmission mount -6- from the transmission support -3-.
Installing
Install in the reverse order of removal while noting the following:
- Replace bolts that were tightened with an additional turn after removing them.
-- First tighten the nut -4- and bolt -5- hand-tight.
-- Tighten the bolts -1- for the stop -2-.
-- Then tighten the nut -4- and bolt -5-.
Tightening Specifications
- Refer to the appropriate Service Information .
