LEMON Manuals: Even more car manuals for everyone: 1960-2025
Home >> Audi >> 2021 >> A4 Quattro Premium Plus, 2.0L Eng VIN B >> Repair and Diagnosis (Single Page) >> Accessories & Equipment >> Seats >> Seat Frames >> 72 Seat Frames >> Rear Seats >> Inner Mounting Pin, Removing And Installing >> Removing

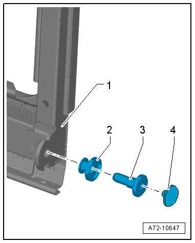
Inner Mounting Pin, Removing And Installing: Removing

-- Remove the backrest from the center bearing. Refer to CENTER BRACKET, REMOVING AND INSTALLING .

-- Remove the chafe protection -4- and then remove the mounting pin -3- from the backrest frame -1-.

Fig 1: Exploded View Of Inner Mounting Pin
GWWA72-10647Courtesy of AUDI OF AMERICA, LLC

-- Remove the bearing sleeve -2- from the mounting pin.

NOTE:

For clarity, the cushion and cover are not shown.