LEMON Manuals: Even more car manuals for everyone: 1960-2025
Home >> Audi >> 2021 >> A4 Quattro Premium Plus, 2.0L Eng VIN B >> Repair and Diagnosis (Single Page) >> Accessories & Equipment >> Warning Systems >> Communication (1 Of 2) >> 91 Communication >> Sound System >> Overview - Sound System >> 9VD - Standard Sound System

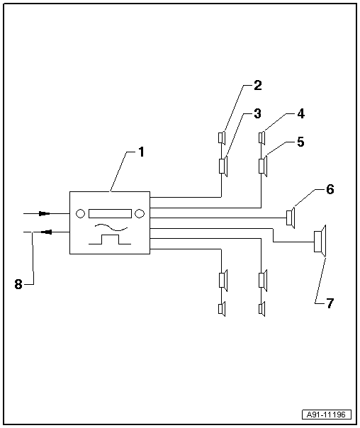
9VD - Standard Sound System

Fig 1: 9VD - Audi Sound System Circuit Diagram
GWWA91-11196Courtesy of AUDI OF AMERICA, LLC
  1. Information Electronics Control Module 1 -J794- in the Glove Compartment
  2. Left Front Treble Speaker -R20- /Right Front Treble Speaker -R22- on Left and Right Sides of Instrument Panel
  3. Left Front Bass Speaker -R21- /Right Front Bass Speaker -R23- in the Lower Front Doors
  4. Left Rear Treble Speaker -R14- /Right Rear Treble Speaker -R16- in the rear doors at the top
  5. Left Rear Bass Speaker -R15- /Right Rear Bass Speaker -R17- at Bottom of the Rear Doors
  6. Center Speaker -R208- in the Center Instrument Panel
  7. Subwoofer -R11- in the Rear Shelf/Luggage Compartment Recess
  8. MOST Bus