46 Brake Pulsation Diagnostic Guidelines (GROUP 46, NO. 99-01)
Reference number: GROUP 46, NO. 99-01
Supersedes refnos: 2010097, 2010097/1, 2010097/2, 2010097/3, 2010097/4, 2022584, 2022584/1, 2022584/10, 2022584/11, 2022584/12, 2022584/2, 2022584/3, 2022584/4, 2022584/5, 2022584/6, 2022584/7, 2022584/8, 2022584/9, GROUP 46, NO. 04-01, GROUP 46, NO. 05-01, GROUP 46, NO. 08-08, GROUP 46, NO. 08-13, GROUP 46, NO. 09-02, GROUP 46, NO. 10-01, GROUP 46, NO. 12-19, GROUP 46, NO. 12-23, GROUP 46, NO. 14-66, GROUP 46, NO. 14-86, GROUP 46, NO. 15-25, GROUP 46, NO. 17-63, GROUP 46, NO. 17-68, GROUP 46, NO. 19-12, GROUP 46, NO. 21-23, GROUP 46, NO. 22-26, GROUP 46, NO. 23-50
46 BRAKE PULSATION DIAGNOSTIC GUIDELINES
TECHNICAL SERVICE BULLETIN
| AUDI: | 2015-2025 All Audi Vehicles |
| GROUP: | 46 - Brake - Mechanical Components |
SERVICE INFORMATION
46 23 50 2022584/12 September 18, 2023. Supersedes Technical Service Bulletin Group 46 number 22-26 dated January 31, 2022, for reasons listed below.
| Model(s) | Year | VIN Range | Vehicle-Specific Equipment |
|---|---|---|---|
| All Audi Vehicles | 2015 - 2025 | All | Not Applicable |
CONDITION
| Revision | Date | Purpose |
|---|---|---|
| 12 | - | Revised header (Added model years) |
| 11 | 01/31/2022 | Revised header (Added model year) |
| 10 | 02/10/2021 | Revised header (Added model years) |
Customer states:
- The steering wheel vibrates or pulsates when the brakes are applied.
TECHNICAL BACKGROUND
Brake-related vibrations and pulsations can have multiple root causes, which include-but are not limited to: driving style, environmental conditions, and the service history of the vehicle. Additionally, as brake pads and discs wear, their dampening ability is reduced.
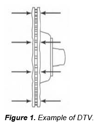
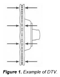
Disc thickness variation (DTV) is a common condition that contributes to brake pulsation (Figure 1). DTV occurs when the two braking surfaces of the brake disc are no longer parallel to each other. This condition cannot be accurately measured with normal workshop tools. The most common conditions that create DTV include:
- Corrosion/rust build-up.
- Pad material transfer.
- Prolonged use of a disc with the high run-out condition.
PRODUCTION SOLUTION
Not applicable.
SERVICE
Brake-related vibrations and pulsations can have multiple root causes, which include-but are not limited to: driving style, environmental conditions, and the service history of the vehicle. Additionally, as brake pads and discs wear, their dampening ability is reduced.
Disc thickness variation (DTV) is a common condition that contributes to brake pulsation (Figure 1). DTV occurs when the two braking surfaces of the brake disc are no longer parallel to each other. This condition cannot be accurately measured with normal workshop tools. The most common conditions that create DTV include:
- Corrosion/rust build-up.
- Pad material transfer.
- Prolonged use of a disc with the high run-out condition.
PRODUCTION SOLUTION
NOT APPLICABLE.
SERVICE
BRAKE PULSATION MAY BE NOTICEABLE ONLY WITH SPECIFIC VEHICLE SPEED, BRAKE PEDAL PRESSURE, AND TEMPERATURE OF THE BRAKE COMPONENTS. IN ORDER TO ACCURATELY DIAGNOSE THE VEHICLE, IT IS CRITICAL TO TEST DRIVE THE VEHICLE UNDER THE SAME CONDITIONS AS THE CUSTOMERS WOULD (E.G., SPEED, BRAKING PRESSURE, ETC.). THE FOLLOWING ARE EXAMPLES OF OTHER CONDITIONS THAT CAN CAUSE BRAKE PULSATION.
OVERHEATED BRAKE COMPONENTS
Overheated brake components can cause permanent damage to the brake discs and brake pads.
Condition: Brake pad material smeared on the brake disc (Figure 2). This condition can create DTV.
Common cause: An overly-aggressive driving style, which results in frequent sharp braking without proper cooling off periods.
Service: Replace the brake discs and pads.
Condition: Blue-tempered or overheated brake discs (Figure 3).
Common cause: Failed component(s) causing constant brake application. This can also be caused by an overly-aggressive driving style, which results in frequent sharp braking without proper cooling off periods.
Service: Replace the brake disc and pads.
CORROSION/RUST BUILD-UP
The ability to remove any build-up on a brake disc is impacted by the severity of the build-up. If left unattended, the build-up can permanently damage brake discs and pads.
Condition: Corrosion/rust build-up on the brake discs (Figure 4). This condition can create DTV.
Common causes:
- Exposure to road salt during winter months, high humidity, or moisture.
- Vehicle not being driven for prolonged periods of time.
- A gentle driving style with very light brake application may not be enough to remove build-up (such as rust or corrosion) on the brake discs and pads.
Service: With careful consideration of the traffic situation, perform 2-3 ABS stops from speeds above 50mph. Between each stop, allow the brake components to cool by driving the vehicle for more than one minute at speeds greater than 50mph. Do not perform ABS stops if brand new pads and/or discs are installed. Replace brake disc and pads if the condition is not eliminated.
Condition: Pad material transfer or corrosion marks from brake pads on the brake disc, also known as "pad marks" (Figure 5). This condition can create DTV.
Common cause: These marks can appear if the vehicle has not been driven for a prolonged period of time or if the brakes are exposed to high humidity or moisture.
Service: With careful consideration of the traffic situation, perform 2-3 ABS-stops from speeds above 50mph. Between each stop, allow the brake components to cool by driving the vehicle for more than one minute at speeds greater than 50mph. Do not perform ABS stops if brand new pads and/or discs are installed. Replace brake disc and pads if the condition is not eliminated.
Condition: Excessive brake disc or wheel hub run-out (Figure 6). Measure according to the Run-out Measurement Instructions listed below.
Common causes:
- Over-torqued or improperly-torqued wheels (torque sticks, impact gun, etc.) can distort the brake disc and hub, causing a run-out condition. Refer to Elsa for proper torque values and procedures for the VIN.
- Wheels that are not Audi-approved may not have the same contact surface on the back of the wheel and may not have the correct center bore dimension, which can distort the brake disc and hub, causing a run-out condition.
- External impact or rust build-up between brake disc and hub.
Service: Replace brake disc(s) and/or hub(s) if measurements exceed the maximum value listed in the Runout Measurement Instructions .
Condition: Worn brake pads (Figure 7).
Common cause: As brake pads and discs reach their wear limit, their dampening characteristics are reduced.
Service: Replace worn brake pads and discs.
OTHER COMMON CAUSES
The following factors can impact the condition of the brake and suspension components, which can lead to pulsation during braking. Always check the repair history and the overall condition of the vehicle.
Condition: Faulty, damaged, or aftermarket suspension components (ball joints, links, tie rods, bushing, etc.) can significantly amplify vibration/pulsation or lead to body vibrations which only become noticeable when braking (Figure 8 and Figure 9).
Service: Diagnose these components accordingly.
Condition: Wheel/tire imbalance (Figure 10) or radial run-out can significantly amplify the vibration/pulsation or lead to body vibrations which only become noticeable when braking.
Service: Inspect the condition of these components and diagnose accordingly.
RUN-OUT MEASUREMENT INSTRUCTIONS
To obtain accurate run-out measurements, the following conditions must apply:
- All surfaces that will be measured must be free of rust/corrosion build-up or pad material transfer.
- VAS6079/1 (or similar measurement tool) is securely attached to the vehicle (Figure 11).
- The brake disc is secured to the hub with 5 bolts.
- Axle bolt/nut is installed and properly torqued.
- Run-out measurements should be taken with all parts installed on the vehicle.
Use the following values to determine the severity of the runout:
Disc braking surface (Figure 12, point 1):
- Disc hub and wheel hub run-out impact this value.
- Maximum run-out: 0.06 mm/0.002" .
Disc hub (center of the brake disc) (Figure 12, point 2):
- Wheel hub run-out impacts this value.
- Disc hub run-out impacts the disc braking surface run-out.
- Maximum run-out: 0.03 mm/0.0012" .
Wheel hub (without the disc installed) (Figure 12, point 3):
- This value impacts the disc hub and disc braking surface run-out. High run-out can distort the brake disc.
- Maximum run-out: 0.02 mm/0.0008" .
WARRANTY
This TSB is informational only and not applicable to any Audi Warranty.
ADDITIONAL INFORMATION
All parts and service references provided in this TSB (2022584 ) are subject to change and/or removal. Always check with your Parts Department and/or ETKA for the latest information and parts bulletins. Please check the Repair Manual for fasteners, bolts, nuts, and screws that require replacement during the repair.












