Washer Fluid Line Hose Connections, Disconnecting And Connecting
Various hose couplings are used to connect the hoses to the washer fluid pumps and spray jets or as coupling points.
Unsecured Hose Coupling
-- To disconnect the connection, pull both parts of the coupling apart.
-- To connect, press both parts of the coupling together firmly until they noticeably engage.
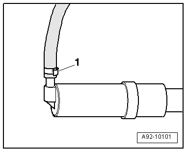
Secured Hose Coupling with Circlip
-- To disconnect the connection, turn the circlip -1- 90° -arrow- and remove the hose connector.
-- To connect, attach the hose connector and turn circlip -1- -arrow- until it engages.
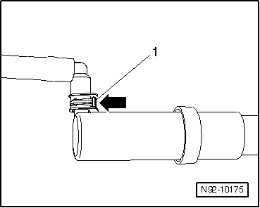
Secured Hose Coupling with Clip, Version 1
-- To disconnect the connection, pull clip -1- up approximately 1 mm -arrow- and remove the hose connector.
-- To connect, attach the hose connector and press the clip in until it engages.
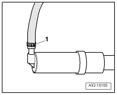
Secured Hose Coupling with Clip, Version 2
-- To disconnect the connection, pull clip -1- up -arrow- and remove the hose connector.
-- To connect, attach the hose connector and press the clip in until it engages.
Headlamp Washer System Hose Connection with Clip
Courtesy of AUDI OF AMERICA, LLC-- To disconnect the connection, press clip -1- -arrow- and remove the hose connector.
-- To connect, hold the clip pressed -arrow- and attach the hose connector.
-- Make sure the connection is engaged securely by pulling on the hose without pressing the clip.
Headlamp Washer System Hose Coupling with Clamp
-- To disconnect the hose clamp connection -1-, cut with side cutting pliers and remove the hose connector.
-- To connect, slide the new hose clamp onto the hose, attach the hose connector and install the hose clamp with :VAG1275 .
Headlamp Washer System Hose Connection with Spring Clip
-- To disconnect the connection, open spring clamp -1- with :VAG1921 and remove the hose connector.
-- To connect, open the spring clamp with :VAG1921 and attach the connector.





