LEMON Manuals: Even more car manuals for everyone: 1960-2025
Home >> Audi >> 2021 >> A4 Quattro Premium Plus, 2.0L Eng VIN B >> Repair and Diagnosis (Single Page) >> Accessories & Equipment >> Wiring System (Data Link Connectors, Pwr Dist., Grnd Dist.) >> Wires >> 97 Wires >> Wiring Harness And Connector Repairs >> Connector Housings And Connectors, Repairing >> Contacts In Connector Housing, Repairing

Contacts In Connector Housing, Repairing

Procedure 

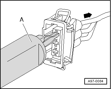
Fig 1: Identifying Release Tool To Release Terminal Lock
GWWA97-0084Courtesy of AUDI OF AMERICA, LLC

-- First, open or release if necessary the secondary lock of the connector housing. Refer to CONNECTOR HOUSINGS, RELEASING AND DISASSEMBLING .

-- Release contact (primary lock) using the appropriate release tool. Refer to CONNECTOR HOUSINGS, RELEASING AND DISASSEMBLING .

-- Pull the contact back out of the connector housing -arrow- at the single wire (with the single wire seal if necessary).

-- Cut off the old contact (with the single wire seal) from the vehicle-specific wiring harness.

Fig 2: Cutting Off Old Terminal With Single Wire Seal
GWWA97-0085Courtesy of AUDI OF AMERICA, LLC

-- Take the yellow repair wire with the correct contact out of the :VAS1978B  .

-- Free up the wire to be repaired approximately 20 cm on both sides of the repair point.

CAUTION:

Risk of damaging the electrical wires.

  • Expose wrapped wiring harnesses carefully.

-- If necessary, removing the wiring harness wrapping.

-- Slide the new repair wire contact into the corresponding connector housing compartment until it engages.

Fig 3: Identifying Inserting New Terminal Into Terminal Housing
GWWA97-0086Courtesy of AUDI OF AMERICA, LLC

-- If necessary, install the single wire seal on the repair wire. Refer to SINGLE WIRE SEALS, INSTALLING .

-- Shorten the repair wire and the vehicle-specific wiring harness single wire as needed using the :VAS1978/3  .

Fig 4: Cutting Wire
GWWN97-0017Courtesy of AUDI OF AMERICA, LLC

-- Remove the insulation from the ends of the repair wire and vehicle-specific single wire and crimp the ends with the crimping wires and a crimp connector. Refer to 0.22 MM  or REPAIRING A WIRE 0.35 MM .