Right A-Pillar Connector Station, Removing And Installing: Removing
-- Disconnect the ground cable from the battery when the ignition is switched off. Refer to BATTERY, DISCONNECTING AND CONNECTING .
-- Remove the right front sill panel. Refer to SILL PANEL, REMOVING AND INSTALLING .
-- Push the carpet in the connector station area as far as possible to the side.
-- Disconnect the connector -1-.
-- If equipped, disconnect and free up the wire -3- and the antenna wires -4 and 5-.
-- Pry out the connector station -2- from the body.
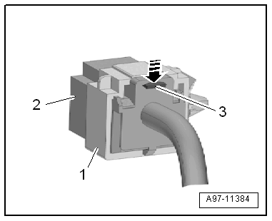
-- Release the retainer -3- in direction of -arrow- and push the connector terminal -2- out of the bracket -1-.

