Brake Caliper Piston, Removing And Installing, Single-Piston Brake: Installing
- Install the entire repair kit.
- Only use mineral spirits to clean the brakes.
- When a brake caliper piston or a piston cylinder are damaged, the brake caliper must be replaced.
-- Clean the surface of the brake caliper piston only with mineral spirits and let it dry.
-- Insert the seal into the brake caliper.
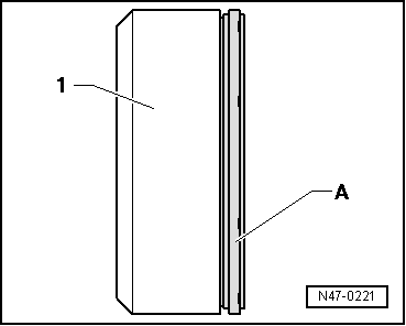
-- Insert the protective cap -A- into the Piston Resetting Tool - Cap /6 : T10146/6 -1-.
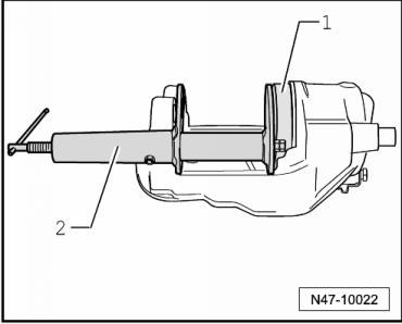
-- Use the resetting tool and the Piston Resetting Tool :T10145 -2- to push the protective cap onto the brake caliper so that it contacts the brake caliper all the way around.
-- Check the protective cap seat:
- The protective cap must no longer be able to be pulled out of the brake caliper by hand.
-- Lightly push the brake caliper piston at the protective cap and lock it in this position using the Trim Removal Wedge :3409 -2-, for example.
-- Blow compressed air on the protective cap (maximum 3 bar (43.5 psi)) -1-. The protective cap jumps onto the brake caliper piston while doing so.
- Do not tilt the brake caliper piston so as not to damage the sealing boot.
-- Use the Piston Resetting Tool :T10145 -1- to push the brake caliper piston into the brake caliper.
Courtesy of AUDI OF AMERICA, LLC- Outer sealing lip of protective cap will then engage in the brake caliper piston groove.



