LEMON Manuals: Even more car manuals for everyone: 1960-2025
Home >> Audi >> 2021 >> A4 Quattro Premium Plus, 2.0L Eng VIN B >> Repair and Diagnosis (Single Page) >> Drivelines & Axles >> Axle Shafts >> Front Suspension >> 40 Front Suspension >> Drive Axle >> Drive Axle, Disassembling And Assembling >> Drive Axle, Disassembling And Assembling, Triple Roller Joint AAR 2600 I And AAR 3300 I >> Disassembling

Drive Axle, Disassembling And Assembling, Triple Roller Joint AAR 2600 I And AAR 3300 I: Disassembling

-- Clamp the drive axle horizontally in a vise with protective covers.

NOTE:

Make sure the drive axle is not damaged.

-- Open the clamps -arrows-.

Fig 1: Identifying Clamps & Protective Boot
GWWA40-0355Courtesy of AUDI OF AMERICA, LLC

-- Slide back the CV boot.

CAUTION:

There is a risk of noise while driving due to a changed installation position.

  • For reinstallation, mark the installation position of the joint to the drive axle using, for example, a waterproof felt-tip pen.

-- Guide the :T40018  or :T40084  behind the joint.

Fig 2: Bringing Guide Pins Into Contact With Joint By Turning Knurled Thumb Screws
GWWA40-0354Courtesy of AUDI OF AMERICA, LLC

-- Bring the :T40018  or :T40084  to rest on the joint by turning the knurled bolts -2-.

NOTE:

The joint must be secured without any play in the :T40018  or :T40084  .

Only tighten the knurled bolts hand tight.

-- Install the :VW771  in the :T40018  or :T40084  .

Fig 3: Identifying Slide Hammer VW 771 Installed In Assembly/Removal Tool T40018
GWWA40-0353Courtesy of AUDI OF AMERICA, LLC

-- Remove the joint horizontally with the :VW771  .

Fig 4: Drive Axle, Triple Roller Star & Mark
GWWA40-0356Courtesy of AUDI OF AMERICA, LLC
CAUTION:

There is a risk of noise while driving due to a changed installation position.

  • For reinstallation, mark the drive axle installation position -1- to the triple roller star -2- using, for example, a waterproof felt-tip pen.

-- Remove grease with a lint-free cloth.

-- Remove the circlip with locking ring pliers -1-.

Fig 5: Removing/Installing Circlip
GWWA40-0357Courtesy of AUDI OF AMERICA, LLC

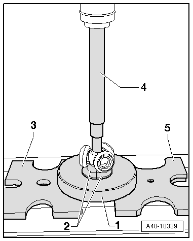
-- Arrange the special tools as shown.

Fig 6: Identifying Tool Set Up/Assembly
GWWA40-10339Courtesy of AUDI OF AMERICA, LLC
  1. :T10065/1 
  2. :T10065/5 
  3. :VW401 
  4. :VW408A 
  5. :VW402 

-- Press the triple roller star off the drive axle.

-- Remove the CV boot.

-- Remove the grease on the shaft splines.

-- Check the roller body and ball cage for wear.

-- Clean drive axle and housing.